Expander HCR

Expander HCR

  • Korrostivitetsklass CX
  • ETA-bedömd expander i rostfritt stål A5
  • Högkvalitativ expander för förmontering, genomsticksmontage och distansmontering
  • Används för montering av metall- och träkonstruktioner i sprucken och osprucken betong samt natursten. Drag alltid åt till angivet moment
  • Rostfri HCR
  • Europeiskt typgodkänd
  • ETA-16/0934 Option 1 - sprucken och osprucken betong
  • BA-E HCR - Extra korrosionsresistent rostfritt stål
  • BAE-E HCR expander är en momentåtdragen expander för användning i sprucken och icke sprucken betong samt för montage i homogena grundmaterial som fulltegel (dock max M8) och natursten
  • BAE-E HCR är lämplig att använda under aggressiva förhållanden, i klorid miljö eller i ständig kontakt med saltvatten (t.ex. kemisk teknisk industri, tunnlar och simhallar m.m)
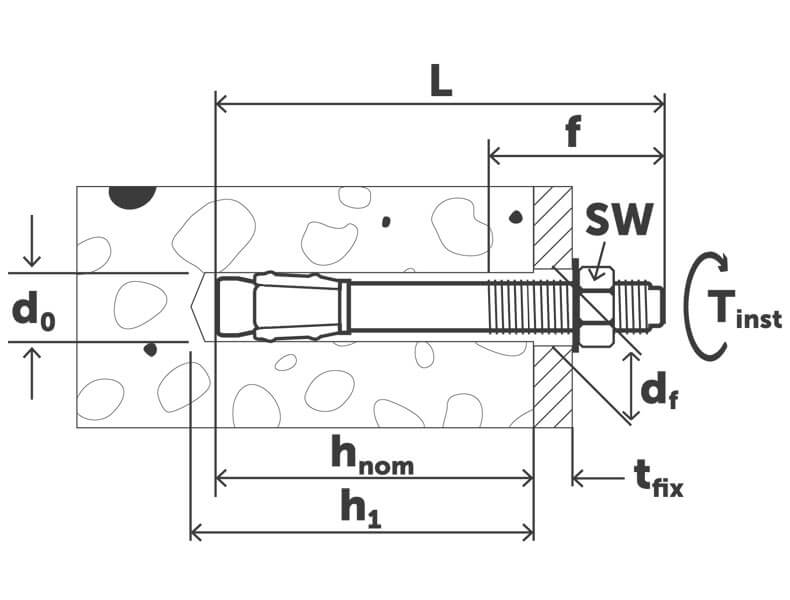
Visa alla mått +
Artikelnummer RSK BorrLSWFiler
EXHCR-8x75-050 87513
EXHCR-10x72-040 107217
EXHCR-10x112-025 1011217
Datablad