T4OM/DA-P

PP Membranventil flänsad pneumatisk (DA) PTFE

  • PP membranventil pneumatiskt styrd (DA)
  • Vatten PN10 vid +20 °C
  • Se teknisk information för tillåtna tryck vid högre temperaturer
  • Tätning i PTFE, FPM mot förfrågan
  • Flänsad DIN PN10/16
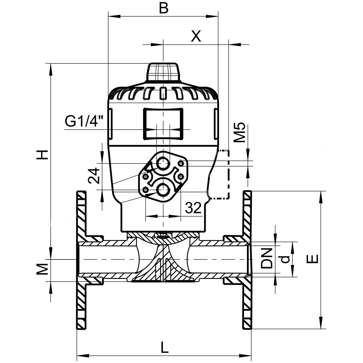
  • d20-63 Fastfläns d75 Lösfläns d90-140 Fastfläns
  • Pneumatiskt manöverdon dubbelverkande (DA)
  • Observera att vridmomenten på bultarna alltid ska kontrolleras före driftsättning
Visa alla mått +
Artikelnummer RSK dDNELMHBXFiler
T4OM/DA-P-020 4554780 20159513017129.58052
T4OM/DA-P-025 252010515017129.58052 CAD/Step
T4OM/DA-P-032 32251251602015110060.5 CAD/Step
T4OM/DA-P-040 403214018025.524016087 CAD/Step
T4OM/DA-P-050 50401502003224016087 CAD/Step
T4OM/DA-P-063 63501652303924016087 CAD/Step

Fördelen med en membranventil mot andra typer av ventiler är enkel funktion och utformning. Membranventiler används för reglering av gaser och vätskor och är klart lämplig vid förorenade och slitande medier. Ventilen kan monteras i alla positioner. Tryckslag i rörledningar elimineras vid användning av membranventiler. Ett annat kännetecken för membranventiler är det höga antalet manövreringar de klarar. Membranventilen T4 är speciellt lämpad för avstängning eller reglering av aggressiva och/eller slitande media. Den invändiga geometrin i ventilhuset optimerar flödeskarakteristiken vilket ger ett ökat Kv värde. Den ergonomiska ratten är försedd med ett snabblåsningssystem som medger låsning i flera lägen. Lågt vridmoment vid manövrering vilket är en klar fördel. Don typer Det finns olika typer av don avsedda att uppfylla systemens behov för att ge ett bra och funktionellt flöde. NO: Normalt öppen med fjäder, stänger med luft och öppnas vid luft bortfall. NC: Normalt stängd med fjäder, öppnas med luft och stängs vid luft bortfall. DA: Dubbelverkande don öppnas och stängs med luft.

Datablad

Utökat produktblad

Materialegenskaper

Tillbehör

M/T4

Membran till T4