T4OF/NC

PVDF Membranventil flänsad pneumatisk NC)

  • PVDF membranventil pneumatiskt styrd (NC)
  • Vatten PN10 vid +20 °C
  • Se teknisk information för tillåtna tryck vid högre temperaturer
  • Tätning i PTFE, FPM mot förfrågan
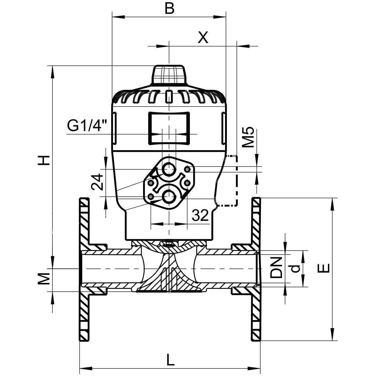
  • Flänsad DIN PN10/16
  • Pneumatiskt manöverdon normalt stängd (NC)
  • d20 Lösfläns d25-63 Fastfläns d75 Lösfläns d90-110 Fastfläns
  • Handtaget är utrustat med säkerhetslåsning, samt ögla för hänglås
  • Observera att vridmomenten på bultarna alltid ska kontrolleras före driftsättning
Visa alla mått +
Artikelnummer RSK dDNELMHBXFiler
T4OF/NC-P-020 20159513017129.58052 CAD/Step
T4OF/NC-P-025 252010515017129.58052 CAD/Step
T4OF/NC-P-032 32251251602015110060.5 CAD/Step
T4OF/NC-P-040 403214018025.524016087 CAD/Step
T4OF/NC-P-050 50401502003224016087 CAD/Step
T4OF/NC-P-063 63501652303924016087 CAD/Step
Datablad

Utökat produktblad

Materialegenskaper

Tillbehör

M/T4

Membran till T4