| Artikelnummer | RSK |
|---|---|
| T4DM-E-020 | 4552702 |
| T4DM-E-025 | 4552703 |
| T4DM-E-032 | 4552704 |
| T4DM-E-040 | 4552705 |
| T4DM-E-050 | 4552706 |
| T4DM-E-063 | 4552707 |
| T4DM-E-075 | 4552708 |
T4DM-E
PP Membranventil utv svets EPDM
- PP membranventil
- Vatten PN10 vid +20 °C
- Se teknisk information för tillÄtna tryck vid högre temperaturer
- TÀtning i EPDM, FPM mot förfrÄgan
- UtvÀndig svets
- Handtaget Àr utrustat med sÀkerhetslÄsning, samt ögla för hÀnglÄs
- Observera att vridmomenten pÄ bultarna alltid ska kontrolleras före driftsÀttning
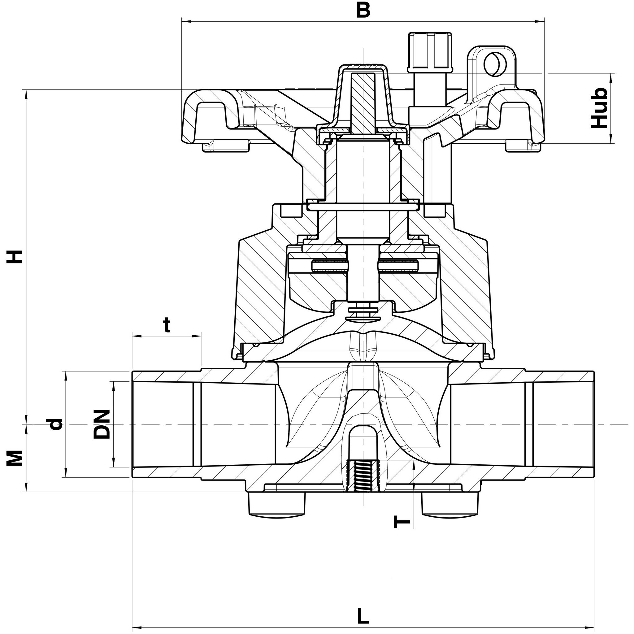
Modeller
Produktbeskrivning
Fördelen med en membranventil mot andra typer av ventiler Àr enkel funktion och utformning. Membranventiler anvÀnds för reglering av gaser och vÀtskor och Àr klart lÀmplig vid förorenade och slitande medier. Ventilen kan monteras i alla positioner. Tryckslag i rörledningar elimineras vid anvÀndning av membranventiler. Ett annat kÀnnetecken för membranventiler Àr det höga antalet manövreringar de klarar. Membranventilen T4 Àr speciellt lÀmpad för avstÀngning eller reglering av aggressiva och/eller slitande media. Den invÀndiga geometrin i ventilhuset optimerar flödeskarakteristiken vilket ger ett ökat Kv vÀrde. Den ergonomiska ratten Àr försedd med ett snabblÄsningssystem som medger lÄsning i flera lÀgen. LÄgt vridmoment vid manövrering vilket Àr en klar fördel. Don typer Det finns olika typer av don avsedda att uppfylla systemens behov för att ge ett bra och funktionellt flöde. NO: Normalt öppen med fjÀder, stÀnger med luft och öppnas vid luft bortfall. NC: Normalt stÀngd med fjÀder, öppnas med luft och stÀngs vid luft bortfall. DA: Dubbelverkande don öppnas och stÀngs med luft.



