T4DF

PVDF Membranventil utv svets

  • PVDF membranventil
  • Vatten PN10 vid +20 °C
  • Se teknisk information för tillĂ„tna tryck vid högre temperaturer
  • TĂ€tning i PTFE, FPM mot förfrĂ„gan
  • UtvĂ€ndig svets
  • Ny design för ett högre Kv vĂ€rde
  • Observera att vridmomenten pĂ„ bultarna alltid ska kontrolleras före driftsĂ€ttning
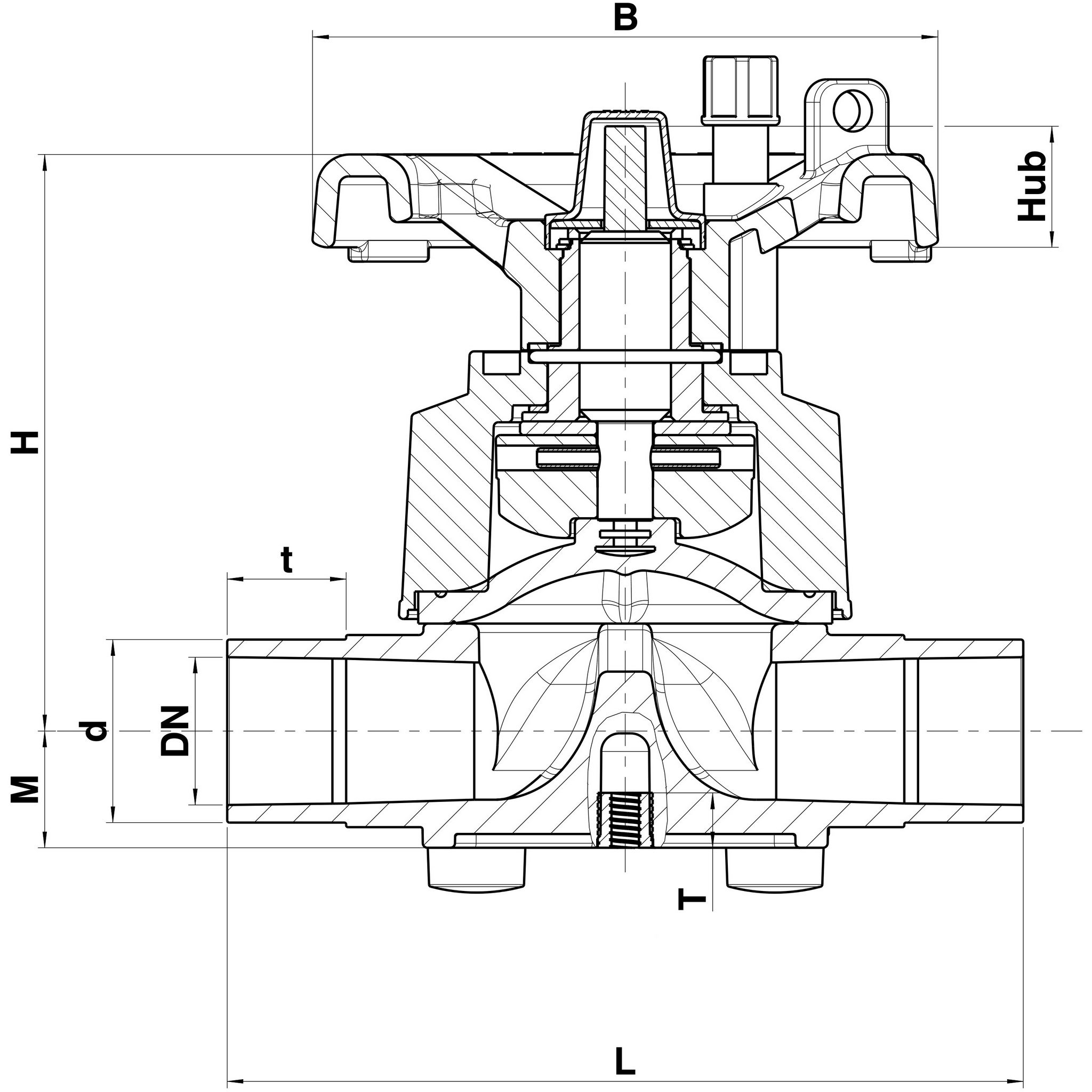
Visa alla mÄtt +
Artikelnummer RSK dDNMHLTtBHubFiler
T4DF-P-020 4552633 2015171001241216–28,5869 CAD/Step
T4DF-P-025 4552634 2520171001441219–36869 CAD/Step
T4DF-P-032 4552635 3225211071541222–368611 CAD/Step
T4DF-P-040 4552636 4032331441741526–38,513622 CAD/Step
T4DF-P-050 4552637 5040331441941531–4613622 CAD/Step
T4DF-P-063 4552638 635040.31702241538–4613628 CAD/Step
T4DF-P-075 4552639 7565101724628412044 CAD/Step
Datablad

Utökat produktblad

Materialegenskaper

Tillbehör

M/T4

Membran till T4