M1BM/DA-E

PP kulventil utv svets pneumatisk (DA) EPDM

  • PP TvĂ„vĂ€gs kulventil pneumatiskt styrd (DA)
  • LĂ„nga Ă€ndar i PP
  • Vatten PN16 vid +20 °C
  • Se teknisk information för tillĂ„tna tryck vid högre temperaturer
  • Packningar i EPDM
  • SĂ€testĂ€tning i PTFE
  • UtvĂ€ndig svets
  • Pneumatiskt manöverdon dubbelverkande (DA)
  • För industriellt bruk
  • SĂ€kerhetshandtag med möjlighet för individuell mĂ€rkning
  • Silikonfri
  • Fasta sĂ€ten, en sida av ventilen Ă€r demonterbar under fullt tryck
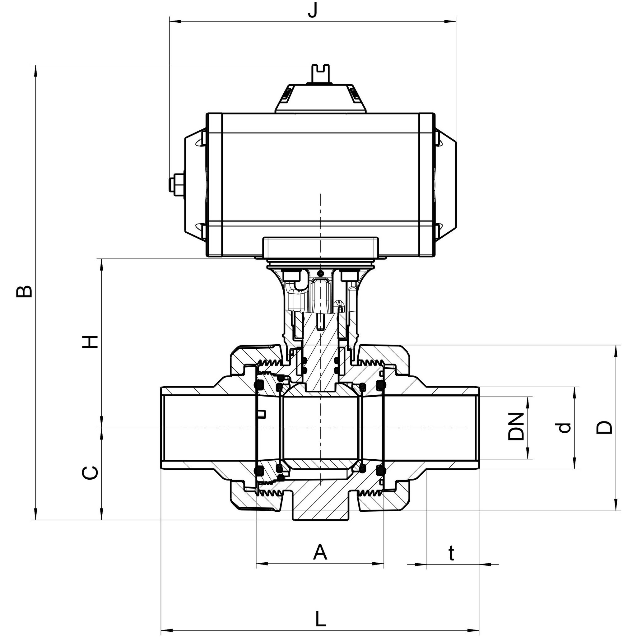
Visa alla mÄtt +
Artikelnummer RSK dDNDLAtCHBJDonFiler
M1BM/DA-E-020 20155819261.547.43381203144PPW
M1BM/DA-E-025 252068.52136949.44086.5215.5144PPW
M1BM/DA-E-032 322575.5223735243.589.5222144PPW
M1BM/DA-E-040 403292241.58354.95197250157PP00
M1BM/DA-E-050 5040108262945856.5104.5263157PP00
M1BM/DA-E-063 6350127.52921096364.5111.5278157PP00
M1BM/DA-E-075 7565160373131.587.285138.5346.5230PP10
M1BM/DA-E-090 9080196.5441156.578.5100168391230PP10
M1BM/DA-E-110 11080196.5474156.5113.7100168391230PP10
Datablad

Utökat produktblad