CVIU-VP

PVC backventil inv lim FPM fjäderstängande PTFE belagd

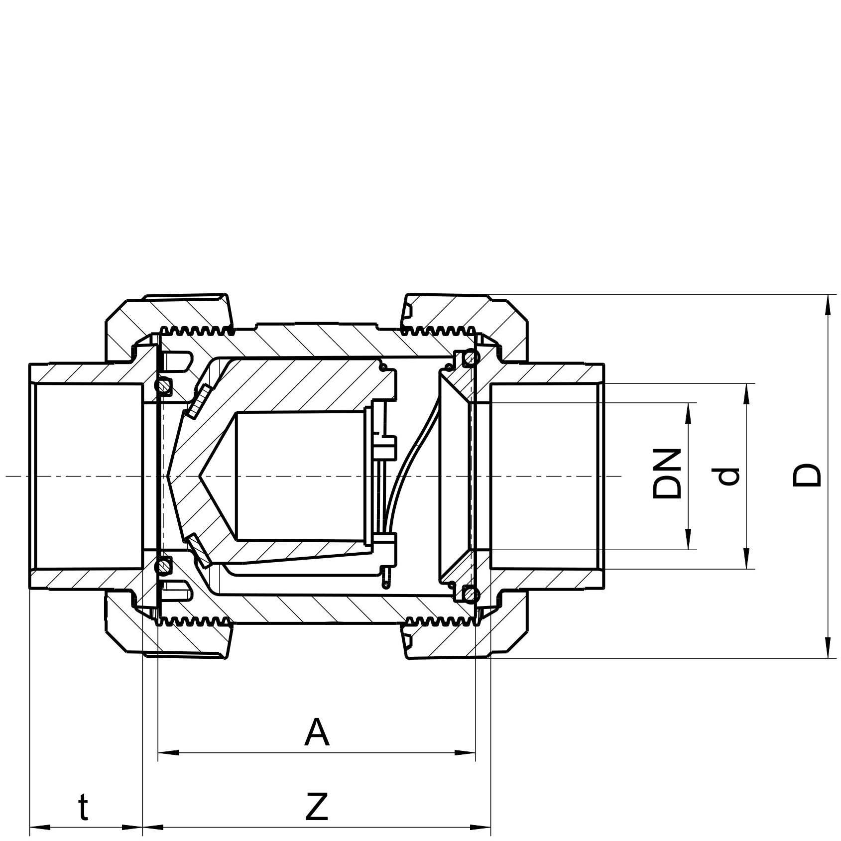
  • PVC-U backventil fjäderstängande
  • Se PN för vatten vid +20 °C under modeller
  • Se teknisk information för tillåtna tryck vid högre temperaturer
  • Packningar i FPM
  • PTFE belagd fjäder
  • Invändig lim
  • För både vertikalt och horisontellt montage
  • Fjäder finns i AISI 316 (V4A) eller PTFE belagd
Visa alla mått +
Artikelnummer RSK dDNPNDAZtFiler
CVIU-VP-020 5014191 201516536267,5-7114,5–16,5 CAD/Step
CVIU-VP-025 5014192 252016637076-7917–19,5 CAD/Step
CVIU-VP-032 5014193 322516707481-8419,5–22,5 CAD/Step
CVIU-VP-040 5014194 403216858490-9622–26,5 CAD/Step
CVIU-VP-050 5014195 50401610195104-11425–31,5 CAD/Step
CVIU-VP-063 5014196 635016121.519121-13429–38,5 CAD/Step
CVIU-VP-075 5014197 756516155137148-16234,5–45 CAD/Step
CVIU-VP-090 5014198 908010188163183-21138,5–55,5 CAD/Step
CVIU-VP-110 5014199 110806188163176-20744–64 CAD/Step
CVIU-VP-016 5014190 161016536267,5-7114,5–16,5 CAD/Step
Datablad

Utökat produktblad

Materialegenskaper