FRV 125

PPs-Radialfläkt d125

  • PPs Radialfläkt
  • Motor PTC
  • Max Temperatur 80°C
  • Flöde 30-610 m³/h
  • Tryckdifferens 440-30 Pa
  • Effekt 0,09-0,12kW
Visa alla mått +
Artikelnummer RSK Flöde m3/hTryckdifferens (Pa)Anslutning (mm)Impeller (mm)MonteringRPM vid 50HzRPM FrekvensomvandlareVoltkWAmpere vid 50HzFiler
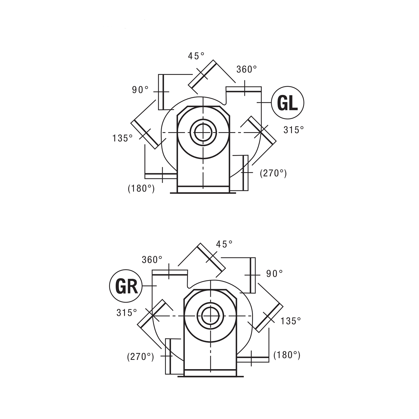
FRV125-3000-GL360-PTC 70-610440-140125125GL 360°2720544-3264230/4000.120.5 CAD/Step
FRV125-3000-GR360-PTC 70-610440-140125125GR 360°2720544-3264230/4000.120.5 CAD/Step
FRV125-1500-GL360-PTC 30-300110-30125125GL 360°1330266-1596230/4000.090.35 CAD/Step
FRV125-1500-GR360-PTC 30-300110-30125125GR 360°1330266-1596230/4000.090.35 CAD/Step
Datablad

Drift och skötsel