TREV

PVC T-rör 90° med renslucka

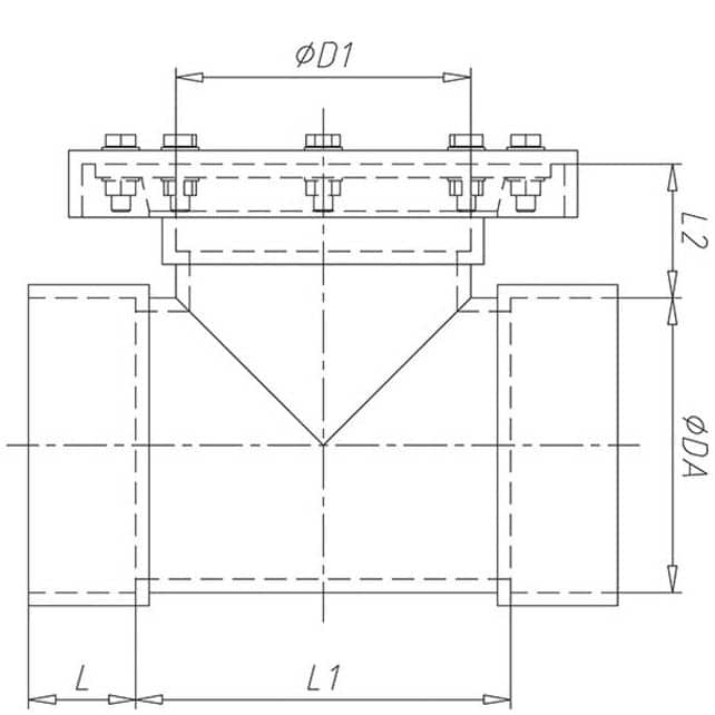
  • PVC-U T-rör 90° med renslucka
  • Muff i båda ändar
  • Inklusive locktätning
  • Ral 7011 mörkgrå (Vit mot förfrågan)
  • Tråd- och extrudersvetsning
  • Kemisk svetsning ≤d160
Visa alla mått +
Artikelnummer RSK DAØD1 ØL1LL2Filer
TREV110 1101101404050
TREV125-110 1251251554050
TREV140-110 1401401704050
TREV160 1601601904050
TREV160-110 1601101904050
TREV180-160 1801802104050
TREV200 2002002304050
TREV200-160 2001602304050
TREV225-200 2252252704050
TREV280-250 2802803205050
TREV315-250 3153153455050
TREV355-250 3553553505050
Datablad

Drift och skötsel

Materialegenskaper