Hem / Produkter / Rörsystem / Rördelar PE / GEL11
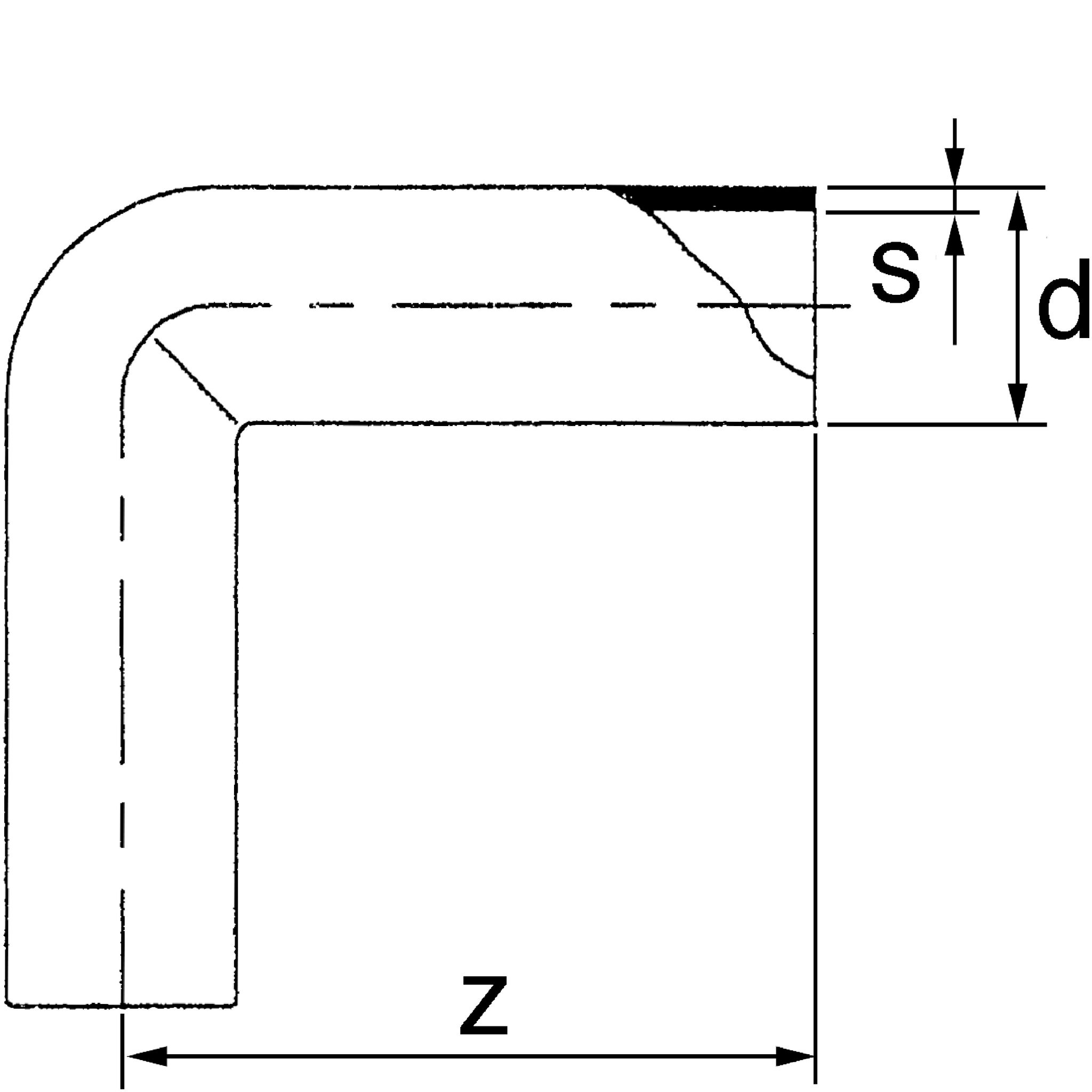
PE Vinkel 90° SDR11
”*” anger obligatoriska fält
E-postadress
Lösenord
Kom ihåg mig