Hem / Produkter / Rörsystem / Rördelar PE / GEL07
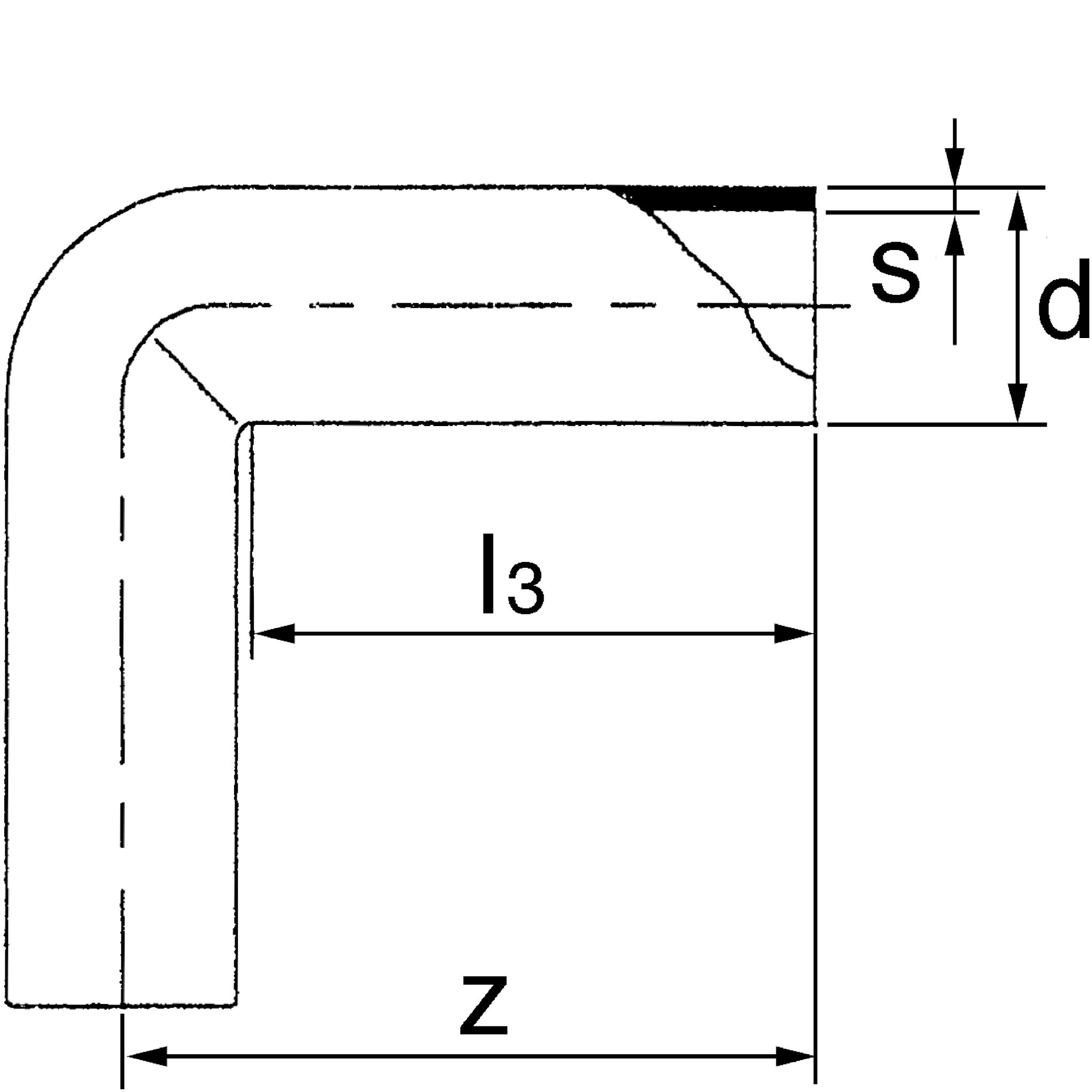
PE Vinkel 90° SDR7,4
”*” anger obligatoriska fält
E-postadress
Lösenord
Kom ihåg mig