BESE

PE Övergångskoppling SDR11

  • PE100/Stål Övergångskoppling SDR11
  • Gas PN 5 vid +20 °C
  • Se teknisk information för tillåtna tryck vid högre temperaturer
  • Formsprutad
  • Stum- och Elmuffsvetsning
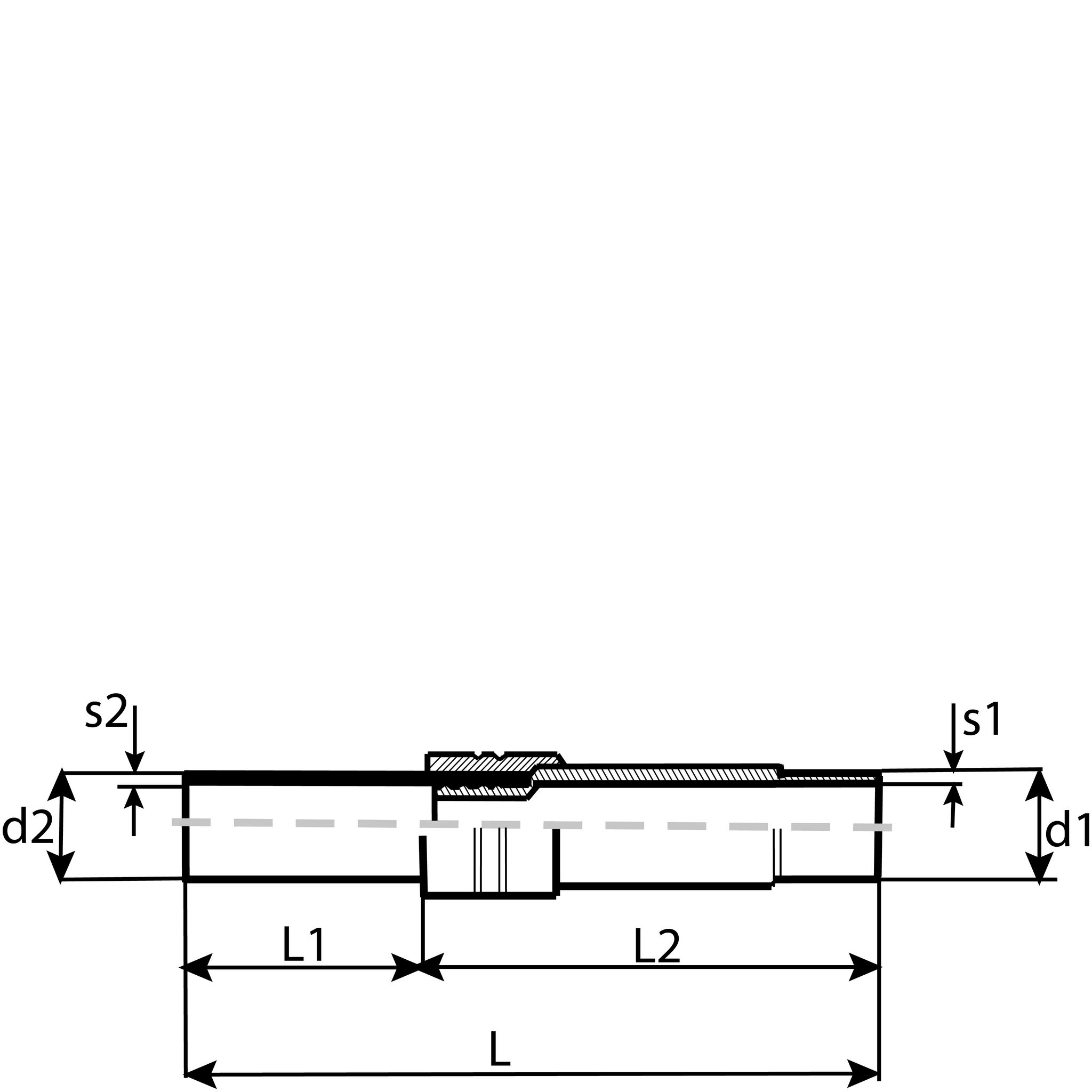
Visa alla mått +
Artikelnummer RSK d2xd1LL1L2s1s2Filer
BESE025 25×25,64501503002.33
BESE032 32×33,74501503002.63
BESE040 40×42,44501503002.63.7
BESE050 50×48,34501503002.94.6
BESE063 63×60,34501503002.95.8
BESE075 75×76,15002003003.26.8
BESE090 90×88,95002003003.28.2
BESE110 110×114,35002003003.610
BESE125 125×114,35002003003.611.4
Datablad

Materialegenskaper