BELU11

PE/PVC Unionskoppling SDR11

  • PE100/PVC unionskoppling
  • Lång ände
  • Vatten PN10 vid +20 °C
  • Se teknisk information för tillåtna tryck vid högre temperaturer
  • EPDM
  • Formsprutad
  • PVC med limmuff
  • PE stuk-/elmuffesvejsning
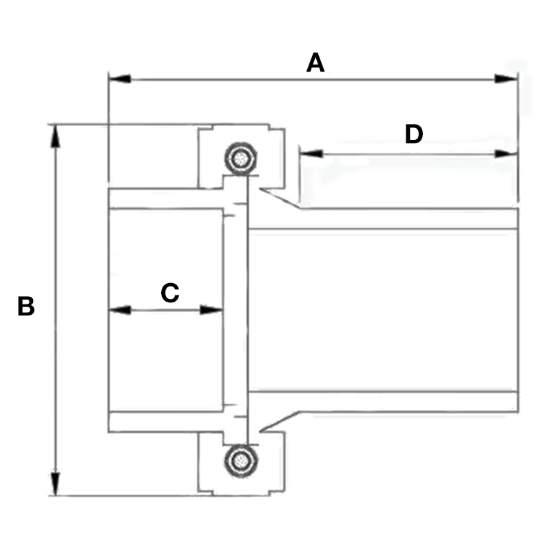
Visa alla mått +
Artikelnummer RSK dFörpackningsantalABCDFiler
BELU11-075 7541781384491 CAD/Step
BELU11-090 90420116452100 CAD/Step
BELU11-110 110421218861102 CAD/Step