SO51335

Syrafast Union utv gänga

  • Syrafast Union
  • Utvändig gänga
  • SS 316 Ti, 1.4571
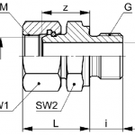
Visa alla mått +
Artikelnummer RSK dbarMSW1/SW2LizeFiler
0581651110 6200M10x114/1420.58144.5
0581651170 8200M12x117/1922.512156.5
0581651270 10160M14x119/192312167
0581651390 12160M16x122/2224.51217.510
0581651534 15100M20x1.527/2729.5142213
0581651648 18100M24x1.532/2729.5142213
0581651768 2264M28x1.536/3230.5162219
Datablad