SO51300

Syrafast Förbindningsnippel

  • Syrafast Förbindningsnippel
  • SS 316 Ti, 1.4571
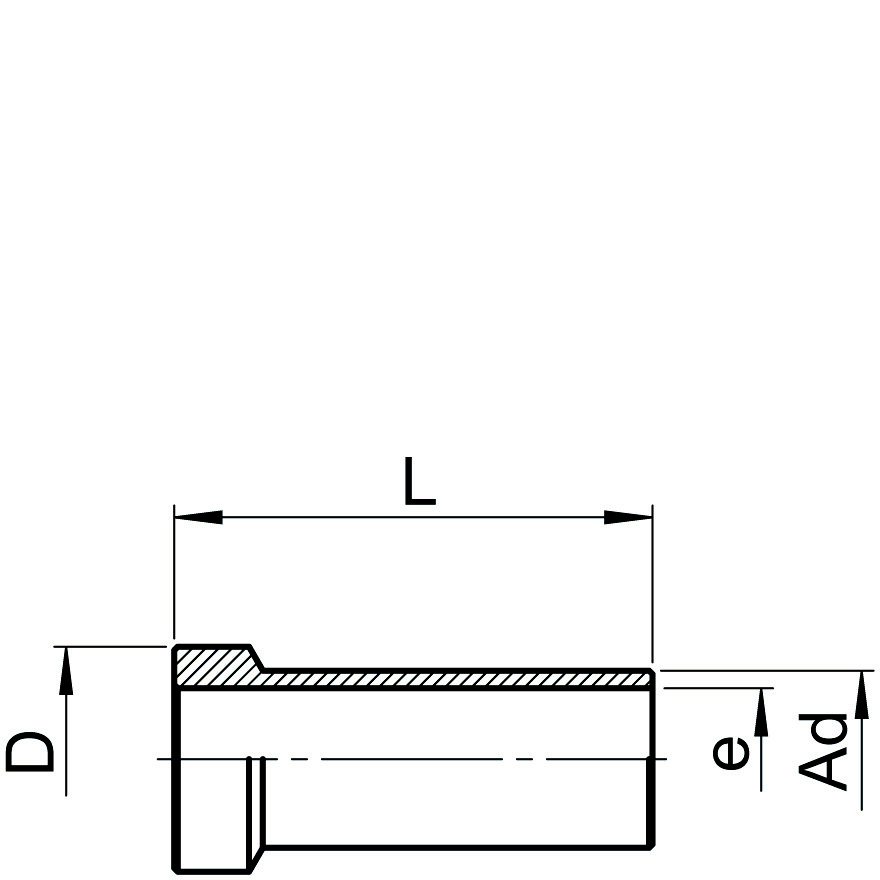
Visa alla mått +
Artikelnummer RSK dbarLDeFiler
0561300060 6200218.54
0561300080 82002410.56
0561300100 101602612.77
0561300120 121603114.79
0561300150 15100351812
0561300180 18100392215
0561300220 2264432619
Datablad