SO40007

Mässing Packning

  • Packning
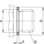
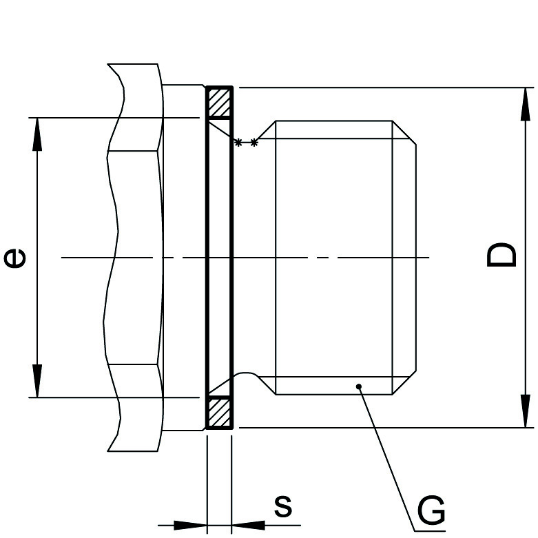
Visa alla mått +
Artikelnummer RSK GDesFiler
0160070020 1/813.410.21.5
0160070040 1/417.914.21.5
0160070060 3/820.917.21.5
0160070080 1/225.921.21.5
0160070120 3/43126.51.5
Datablad