SO40007 METR

Mässing packning

  • Mässing packning
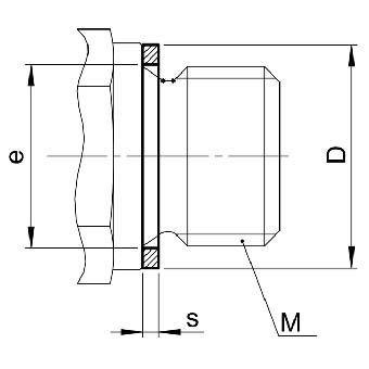
Visa alla mått +
Artikelnummer RSK MDseFiler
0160073173 M811.228.2
0160073220 M1417.91.514.2
Datablad