SO21300

PVDF Svivel rak

  • PVDF svivel rak
  • Vatten PN10 vid +20 °C
Visa alla mått +
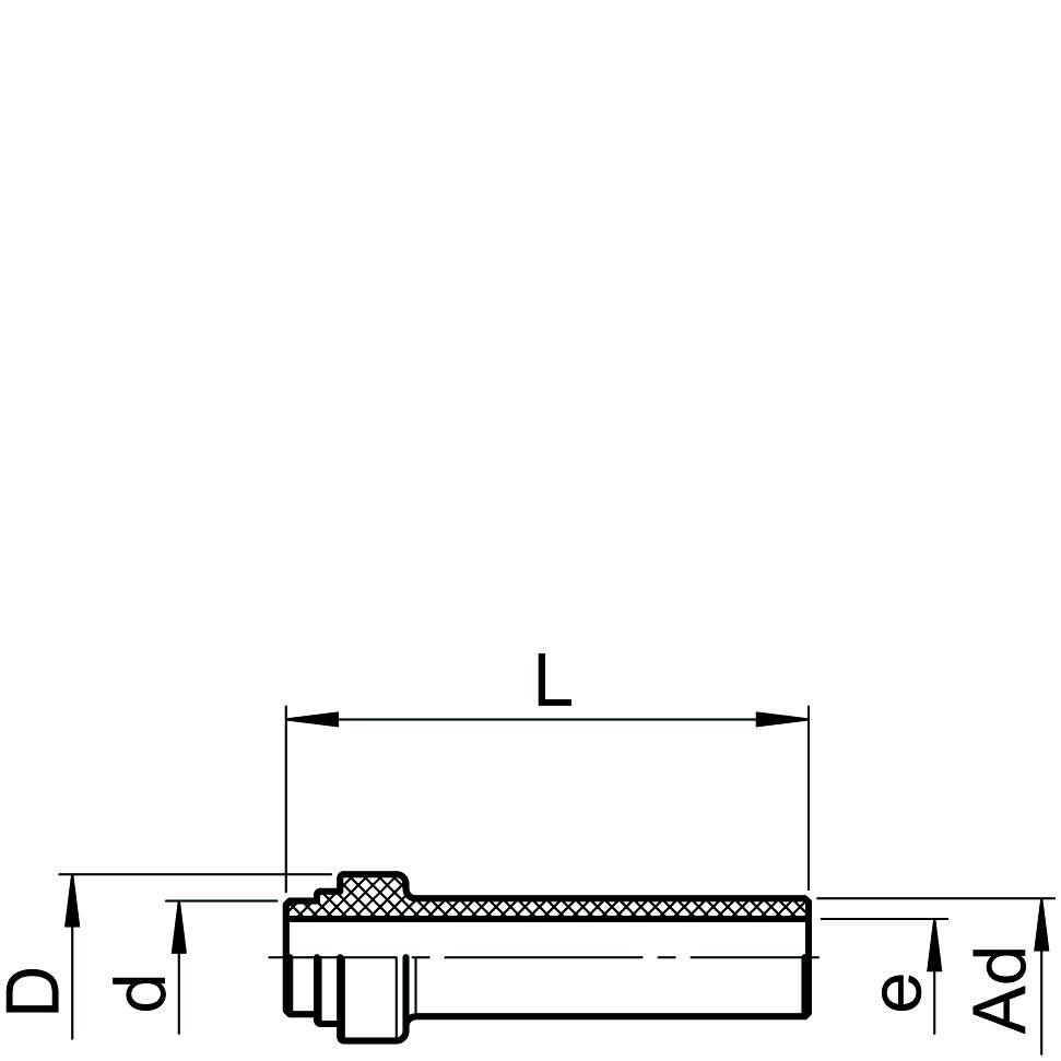
Artikelnummer RSK d×AdbareLDFiler
1261300060 6/4-A6104278.6
1261300080 8/6-A81062810.6 CAD/Step
1261300100 10/8-A101083312.6 CAD/Step
1261300120 12/10-A1210103714.6 CAD/Step
1261300122 12/9-A121093714.6 CAD/Step
1261300160 16/13-A16101347.519.7 CAD/Step
Datablad

Materialegenskaper