SO01504

Mässing Dubbelnippel lång

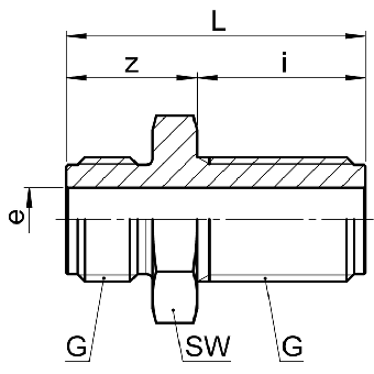
  • Dubbelnippel lång panelmontage
  • Mässing
Visa alla mått +
Artikelnummer RSK GbarSWLzieFiler
2461540140 1/21003058213712
Datablad