SO01500

Mässing Dubbelnippel

  • Dubbelnippel panelmontage
  • Mässing
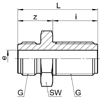
Visa alla mått +
Artikelnummer RSK GbarSWLzieFiler
2461500080 1/4125193816226.5
2461500100 3/8100244017.522.58.5
2461500120 1/21003047212612
Datablad