LO CV 3000

Mässing trör

  • Mässing T-rör slangsockel
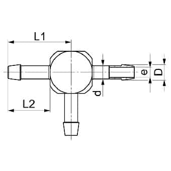
Visa alla mått +
Artikelnummer RSK dL1L2DeFiler
3663000015 1.58621
3663000020 2972.51.4
3663000025 2.511831.9
3663000030 31293.72.3
3663000040 414.51153.2
Datablad